đ Beschreibung der Röhre: 6AV6
| Name | 6AV6 |
| Vergleichsname | â EBC91 |
| Heizspannung (Volt) | 6,3 |
| Heizstrom (AmpĂšre) | 0,3 |
| Art der Heizung | Indirekt |
| Röhren mit Sockel | â Informationen zum Sockel: Miniatur, 7pol. â Liste aller Röhren mit: Miniatur, 7pol. |
| ZusÀtzliche Informationen | |
| Letzte Ănderung | 05.06.2018 19:19:35 |
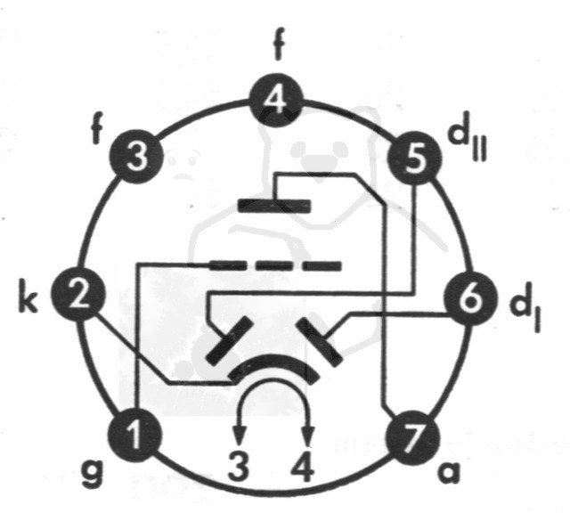
đ Beschreibung der Systeme fĂŒr die Röhre: 6AV6
| System 1 | System 2 | |
| Kathode | 2 | 2 |
| Gitter 1 | 1 | |
| Gitter 2 | ||
| Gitter 3 | ||
| Gitter 4 | ||
| Gitter 5 | ||
| Gitter 6 | ||
| Gitter 7 | ||
| Anode 1 | 7 | 6 |
| Anode 2 | 5 | |
| Leuchtschirm | ||
| Heizung | 3, 4 | 3, 4 |
| Abschirmung | ||
| Funktion | â Niederfrequenzverstaerker, Triode |
â Demodulator |
Hinweis: Beachten Sie bitte das bei der Benennung und ZÀhlreihenfolge der Stifte, in der Literatur oder DatenblÀtter, je nach Hersteller teilweise unterschiedliche Angaben gemacht werden.
đ Sockelschaltung der 6AV6

Bildquelle: Telefunken Datenblatt
đ DatenblĂ€tter zur Röhre: 6AV6
Datenblatt 6AV6 Brimar [www.tubedata.info].pdf (63 kB)
Datenblatt 6AV6 EBC91 Telefunken.pdf (186 kB)
Datenblatt 6AV6 General Electric [www.tubedata.info].pdf (484 kB)
Datenblatt 6AV6 Mazda Belvu [www.tubedata.info].pdf (342 kB)
Datenblatt 6AV6 RCA [www.tubedata.info].pdf (74 kB)
Datenblatt 6AV6 Tung-Sol [www.tubedata.info].pdf (259 kB)Hinweis:Alle DatenblĂ€tter (PDF-Dateien) die nicht von mir selbst eingescannt wurden, stammen aus öffentlichen, nichtkommerziellen Quellen. Sollte ein Problem existieren bitte ich um direkte RĂŒcksprache đš Probleme mit einem Datenblatt klĂ€ren
đ Bilder der Röhre: 6AV6

Röhre 6AV6 #7970 Bild 1

Röhre 6AV6 #7970 Bild 2

Röhre 6AV6 #7970 Bild 3

Röhre 6AV6 #7970 Bild 4

Röhre 6AV6 #7970 Bild 5

Röhre 6AV6 #7970 Bild 6

Röhre 6AV6 #7970 Bild 7

Röhre 6AV6 #7970 Bild 8

Röhre 6AV6 #7970 Bild 9

Röhre 6AV6 #7970 Bild 10

Röhre 6AV6 #7970 Bild 11

Röhre 6AV6 #7970 Bild 12

Röhre 6AV6 #2518 Bild 1
đ Alle Röhren vom Typ 6AV6 in der Sammlung
- â 6AV6 Inventar: 02481 Hersteller: â Telefunken (Mit Raute im Boden)
- â 6AV6 Inventar: 02489 Hersteller: â Telefunken (Mit Raute im Boden)
- â 6AV6 Inventar: 02518 Hersteller: â Telefunken
- â 6AV6 Inventar: 07970 Hersteller: â Radiotron (Australia)
